Product  K50APT2GRYC3QP

piconet Accessories

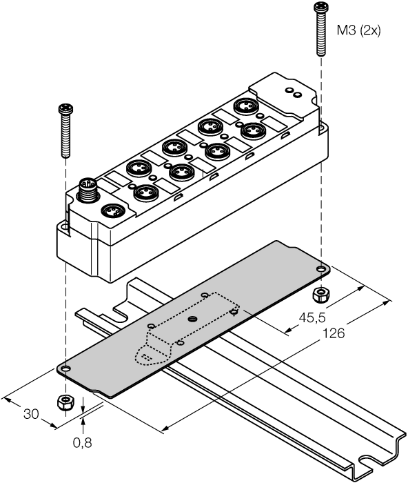
Mounting Panel for Extension Modules Mounted on DIN rail (Module Length 126 mm)

Order number: 6603931
#

Select Country

Turck worldwide

to top